东方化玻(北京)科技有限公司

24小时服务热线

18101382572

产品搜索

产品展示

您现在所在的位置:首页>   产品展示
产品展示
风包释压阀
  • 产品名称:风包释压阀
  • 产品型号:ZX7M-QHF-125-1mpa
  • 所属类别:环境、环保检测仪器
  • 发布时间:2016-08-25
  • 已获点击:188
详细说明
风包释压阀 型号:ZX7M-QHF-125-1mpa
库号:M394457  
风包释压阀ZX7M-QHF型 
1.用途: 
本释压阀用于地面或井下空气压缩机系统中,安装在风包出口管路正对气流方向上,起安全保护作用。 
2.适用条件: 
各种规格的释压阀适用条件如下: 表1 
型号 工作压力(MPa) 环境温度(℃) 适用的空压机容量(m3/min) 
ZX7M-QHF-50 0.785×105(8kgf/cm2) -40~120 1.5 
ZX7M-QHF-65 0.785×105(8kgf/cm2) -40~120 3 
ZX7M-QHF-80 0.785×105(8kgf/cm2) -40~120 6 
ZX7M-QHF-100 0.785×105(8kgf/cm2) -40~120 10 
ZX7M-QHF-125 0.785×105(8kgf/cm2) -40~120 20 
ZX7M-QHF-150 0.785×105(8kgf/cm2) -40~120 40 
ZX7M-QHF-200 0.785×105(8kgf/cm2) -40~120 60 
ZX7M-QHF-250 0.785×105(8kgf/cm2) -40~120 100 
3.规格与性能: 表2 
型号 工作压力(MPa) 释放压力(MPa) 重量(kg) 气缸内径(mm) 外形尺寸(mm) 连接法兰螺孔分布园直径(mm) 
ZX7M-QHF-50 0.785(8kgf/cm2) 1.05±0.049(10.5±0.5kgf/cm2) 7 50 φ160×245 125 
ZX7M-QHF-65 10 65 φ180×290 145 
ZX7M-QHF-80 12 80 φ195×320 160 
ZX7M-QHF-100 16 100 φ215×364 180 
ZX7M-QHF-125 21 125 φ245×404 210 
ZX7M-QHF-150 32 150 φ280×454 240 
ZX7M-QHF-200 46 200 φ335×546 295 
ZX7M-QHF-250 64 250 φ390×613 350 

4.工作原理与结构特征: 
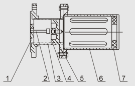
本释压阀由气缸、活塞组、保护罩等组成(见图1)、气缸由左、右端法兰及气缸体组焊而成,为了增强耐磨性和防止生锈,气缸用不锈钢材料。活塞组由卡板、O形密封圈、活塞、拉杆等组成。活塞组可从气缸左端装入并通过卡板对将活塞组固定在气缸中,使之无法左右移动。保护罩由法兰、简体和挡盖组焊而成。当释压阀释压时,保护罩可防止活塞飞出伤人,起安全保护作用。
本释压阀安装在空气压缩机系统中风包出口管路正对气流方向上,当空压机系统正常工作时,系统压力≤0.785(8kgf/cm2 ),在此压力下,释压阀正常工作。当风包因积炭着火或由于某种原因导致风包内气体爆炸时,系统内温度、压力瞬时升高,当压力升至1.03±0.049MPa(10.5±0.5kgf/cm2)时,拉杆立即拉断,释压阀释压,风包及管路中的高温、高压气体得以迅速释放,从而起到缓解爆炸冲击波,避免产生事故的作用
5.安装与调整: 
5.1 释压阀安装于空气压缩机系统中风包出口管路正对气流向上,距风包出口为3-4米。释压阀与风包间须安装闸阀。空气压缩机风包水平放置安装时如图2,空气压缩机风包立式安装如图3。

释压阀安装时应注意以下几点:
5.1.1 释压阀释压方向不要向正对行人,设备及易损物件,防止释压阀释压时造成事故。
5.1.2 释压阀活塞组在气缸中的松紧程度应适当,应不漏气。活塞组的轴向拉力应符合表3规定:
规格 活塞组的轴向拉力(kgf) 
ZX7M-QHF-50 ≤65 
ZX7M-QHF-65 ≤108 
ZX7M-QHF-80 ≤166 
ZX7M-QHF-100 ≤255 
ZX7M-QHF-125 ≤402 
ZX7M-QHF-150 ≤569 
ZX7M-QHF-200 ≤1020 
ZX7M-QHF-250 ≤1589 

5.1.3 安装前检查拉杆,不应有锈蚀,变形现象。
5.1.4 安装时,O形密封圈涂上防腐油。
5.2 释压阀调整:
5.2.1 释压阀安装好以后,应检查气缸活塞、法兰连接处、管路等,不应有漏气现象。
5.2.2 释压阀缸体和保护罩应同心,保护罩内孔不应有毛刺、飞边、脏物等,以免影响释压阀正常工作。
5.2.3 保护罩上的六个长园排气孔不应堵塞,以保持流通面积大于二倍活塞面积。 
6.使用与维护: 
6.1 正常工作时,空气压缩机系统压力不应超过7.84×105Pa(8kgf/cm2)
6.2 经常用检查释硬度阀气缸、活塞、法兰连接处及管路,不应有漏气现象,各紧固部分不应松动。
6.3 应固定专人定期进行检查、维护。释压阀正常工作时,每月至少检查,检查拉杆延细、锈蚀的情况,检查O形密封圈的弹性及密封情况。原则上每六个月更换拉杆,如遇特殊情况,如释压,严重锈蚀或明显延细等。应及时更换。 

材质外壳是碳钢,芯是不锈钢

@2012 www.midwestz3.com,License;  版权声明   后台管理|在线客服QQ 点击这里给我发消息

客服中心

客服电话:

TEL:18101382572

在线联系方式:

点击这里给我发消息

24H服务电话:

18101382572